Μια νέα μελέτη από ερευνητές της Apple παρουσιάζει μια μέθοδο που επιτρέπει σε ένα μοντέλο AI να μάθει μια πτυχή της δομής της ηλεκτρικής δραστηριότητας του εγκεφάλου χωρίς σχολιασμένα δεδομένα. Να πώς.
Pairwise Relative Shift
Σε μια νέα μελέτη που ονομάζεται «Εκμάθηση της σχετικής σύνθεσης των σημάτων ΗΕΓ χρησιμοποιώντας προ-προπόνηση σχετικής βάρδιας κατά ζεύγη”, η Apple παρουσιάζει το PARS, το οποίο είναι συντομογραφία του PAirwise Relative Shift.
Τα τρέχοντα μοντέλα βασίζονται σε μεγάλο βαθμό σε δεδομένα σχολιασμένα από τον άνθρωπο για την εγκεφαλική δραστηριότητα, υποδεικνύοντας ποια τμήματα αντιστοιχούν στα στάδια ύπνου Wake, REM, Non-REM1, Non-REM2 και Non-REM3, καθώς και στις τοποθεσίες έναρξης και λήξης των επιληπτικών κρίσεων κ.λπ.
Αυτό που έκανε η Apple, με λίγα λόγια, ήταν να αποκτήσει ένα μοντέλο για να διδάξει τον εαυτό της να προβλέπει πόσο μακριά χρονικά συμβαίνουν διάφορα τμήματα της εγκεφαλικής δραστηριότητας, με βάση ακατέργαστα, χωρίς ετικέτα δεδομένα.

Από τη μελέτη:
Η αυτο-εποπτευόμενη μάθηση (SSL) προσφέρει μια πολλά υποσχόμενη προσέγγιση για την εκμάθηση αναπαραστάσεων ηλεκτροεγκεφαλογραφίας (EEG) από μη επισημασμένα δεδομένα, μειώνοντας την ανάγκη για ακριβούς σχολιασμούς για κλινικές εφαρμογές όπως η σταδιοποίηση ύπνου και η ανίχνευση επιληπτικών κρίσεων. παραμένει ανεξερεύνητη παρά τις δυνατότητές της να μάθει εξαρτήσεις μεγάλης εμβέλειας σε νευρικά σήματα Εισάγουμε την προεκπαίδευση PAirwise Relative Shift ή PARS, μια νέα εργασία πρόσχημα που προβλέπει σχετικές χρονικές μετατοπίσεις μεταξύ τυχαίων δειγμάτων ζευγών παραθύρων ΗΕΓ σε αντίθεση με τις μεθόδους ανακατασκευής που επικεντρώνονται στην ανάκτηση τοπικών μοτίβων. εξαρτήσεις που είναι εγγενείς στα νευρωνικά σήματα Μέσω της συνολικής αξιολόγησης σε διάφορες εργασίες αποκωδικοποίησης EEG, αποδεικνύουμε ότι οι προεκπαιδευμένοι μετασχηματιστές PARS ξεπερνούν σταθερά τις υπάρχουσες στρατηγικές προεκπαίδευσης σε ρυθμίσεις εκμάθησης αποδοτικών ετικετών και μεταφοράς, καθιερώνοντας ένα νέο παράδειγμα για αυτοεποπτευόμενη εκμάθηση αναπαράστασης EEG.
Με άλλα λόγια, οι ερευνητές είδαν ότι οι υπάρχουσες μέθοδοι εκπαιδεύουν κυρίως μοντέλα για να καλύψουν μικρά κενά στο σήμα. Έτσι, διερεύνησαν εάν μια τεχνητή νοημοσύνη θα μπορούσε να μάθει την ευρύτερη δομή των σημάτων EEG απευθείας από ακατέργαστα, χωρίς ετικέτα δεδομένα.
Όπως αποδεικνύεται, μπορεί.
Στην εργασία, περιγράφουν μια αυτο-εποπτευόμενη μέθοδο εκμάθησης για την πρόβλεψη του τρόπου με τον οποίο μικρά τμήματα ενός σήματος EEG σχετίζονται μεταξύ τους εγκαίρως, η οποία μπορεί να επιτρέψει καλύτερη απόδοση σε πολλαπλές εργασίες ανάλυσης EEG, από τα στάδια ύπνου έως την ανίχνευση επιληπτικών κρίσεων.
Τα αποτελέσματα ήταν ελπιδοφόρα, καθώς το προεκπαιδευμένο με PARS μοντέλο είχε καλύτερη απόδοση ή ταίριαξε με προηγούμενες μεθόδους σε τρία από τα τέσσερα διαφορετικά σημεία αναφοράς EEG που δοκιμάστηκαν.

Τι σχέση όμως έχει με τα AirPods;
Αυτά ήταν τα τέσσερα σύνολα δεδομένων που χρησιμοποιήθηκαν από το προεκπαιδευμένο μοντέλο PARS:
- Wearable Sleep Staging (EESM17)
- Μη φυσιολογική ανίχνευση EEG (TUAB)
- Ανίχνευση επιληπτικών κρίσεων (TUSZ)
- Motor Imagery (PhysioNet-MI).
Στο πρώτο σύνολο δεδομένων, το EESM17 αναφέρεται στο Ear-EEG Sleep Monitoring 2017, το οποίο περιέχει «ολονύχτιες εγγραφές από 9 άτομα με ένα φορετό σύστημα αυτιού-EEG 12 καναλιών και ένα σύστημα κεφαλής-EEG 6 καναλιών».
Δείτε πώς μοιάζει ένα σύστημα EEG Ear:
Ενώ το Ear-EEG χρησιμοποιεί διαφορετικά ηλεκτρόδια από ένα τυπικό σύστημα του τριχωτού της κεφαλής, μπορεί ακόμα να πάρει ανεξάρτητα πολλά κλινικά σχετικά σήματα του εγκεφάλου, όπως στάδια ύπνου και ορισμένα μοτίβα που σχετίζονται με επιληπτικές κρίσεις.
Και επειδή το σύνολο δεδομένων EESM17 χρησιμοποιήθηκε σε μια μελέτη που έγινε από την Apple, η οποία έχει συμπεριλάβει πολλούς αισθητήρες υγείας στα wearable της τα τελευταία χρόνια, δεν είναι δύσκολο να φανταστεί κανείς έναν κόσμο όπου AirPods λάβετε αισθητήρες EEG, όπως και οι AirPods Pro 3 πρόσφατα απέκτησε έναν αισθητήρα φωτοπληθυσμογράφου (PPG) για ανίχνευση καρδιακού ρυθμού.
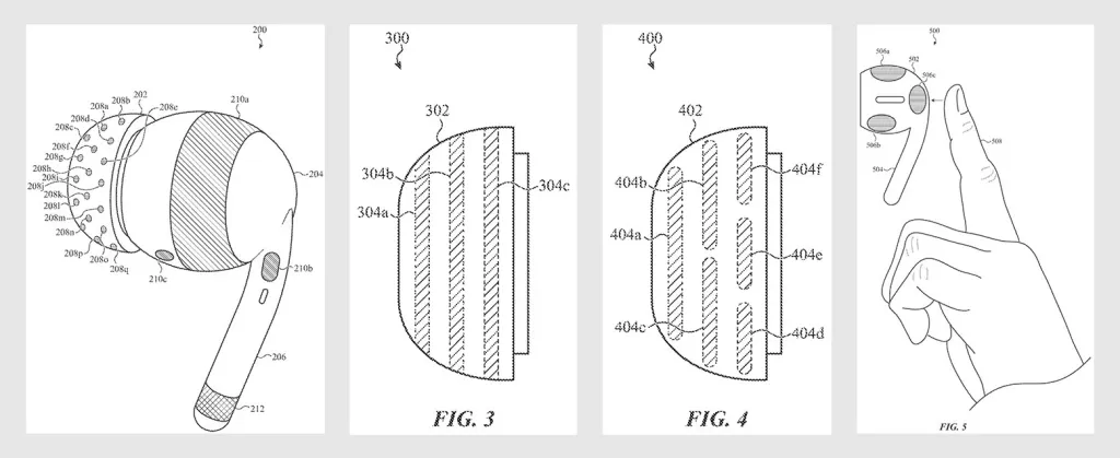
Και εδώ είναι το λάκτισμα: το 2023, η Apple κατέθεσε αίτηση για δίπλωμα ευρεσιτεχνίας για «μια φορητή ηλεκτρονική συσκευή για τη μέτρηση βιοσημάτων ενός χρήστη».
Το δίπλωμα ευρεσιτεχνίας αναφέρει ρητά τις συσκευές EEG για το αυτί ως εναλλακτική λύση στο σύστημα του τριχωτού της κεφαλής, ενώ παρουσιάζει επίσης τους περιορισμούς τους:
“Η εγκεφαλική δραστηριότητα μπορεί να παρακολουθηθεί χρησιμοποιώντας ηλεκτρόδια που τοποθετούνται στο τριχωτό της κεφαλής ενός χρήστη. Τα ηλεκτρόδια μπορεί σε ορισμένες περιπτώσεις να τοποθετηθούν μέσα ή γύρω από το εξωτερικό αυτί του χρήστη. Η μέτρηση της εγκεφαλικής δραστηριότητας χρησιμοποιώντας ηλεκτρόδια τοποθετημένα μέσα ή γύρω από το εξωτερικό αυτί μπορεί να προτιμάται λόγω πλεονεκτημάτων όπως μειωμένη κινητικότητα της συσκευής και μειωμένη ορατότητα των ηλεκτροδίων σε σύγκριση με άλλες συσκευές που απαιτούν ηλεκτρόδια. Επειδή οι ακριβείς μετρήσεις της εγκεφαλικής δραστηριότητας χρησιμοποιώντας μια συσκευή ηλεκτροεγκεφαλογραφίας αυτιού (EEG), η συσκευή αυτιού-EEG μπορεί να χρειαστεί να προσαρμοστεί για το αυτί του χρήστη (π.χ., ενδεχομένως προσαρμοσμένη για το κόγχο, το ακουστικό κανάλι, τον τάργκο κ Το μέγεθος και το σχήμα του αυτιού διαφέρουν από τον ένα χρήστη στον άλλο και επειδή το μέγεθος και το σχήμα του αυτιού ενός χρήστη, καθώς και το μέγεθος και το σχήμα των δομών, όπως ο ακουστικός πόρος του χρήστη, μπορεί να αλλάξουν με την πάροδο του χρόνου, ακόμη και μια προσαρμοσμένη συσκευή EEG ενδέχεται να μην παράγει ακριβείς μετρήσεις κατά καιρούς (ή με την πάροδο του χρόνου, μια προσαρμοσμένη συσκευή EEG μπορεί να είναι ακριβή).
Στη συνέχεια, το δίπλωμα ευρεσιτεχνίας της Apple συνεχίζει να επιλύει αυτούς τους περιορισμούς, συσσωρεύοντας περισσότερους αισθητήρες από όσο χρειάζεται γύρω από τα άκρα των αυτιών των AirPods και έχοντας ένα μοντέλο τεχνητής νοημοσύνης να παίρνει τα ηλεκτρόδια με την καλύτερη ποιότητα σήματος χρησιμοποιώντας μετρήσεις όπως η σύνθετη αντίσταση, το επίπεδο θορύβου, η ποιότητα επαφής με το δέρμα και η απόσταση μεταξύ ενεργών και ηλεκτροδίων αναφοράς.

Στη συνέχεια, εκχωρεί διαφορετικά βάρη σε κάθε ηλεκτρόδιο για να συνδυάσει όλα τα σήματα σε μια ενιαία, βελτιστοποιημένη κυματομορφή. Το δίπλωμα ευρεσιτεχνίας περιγράφει ακόμη και ένα χτύπημα ή μια χειρονομία συμπίεσης που θα ξεκινούσε ή θα σταματούσε τις μετρήσεις, καθώς και πολλές εναλλακτικές λύσεις σχεδιασμού και μηχανικής που θα το καθιστούσαν δυνατό.

Τέλος, η Apple λέει ότι οι «μετρήσεις του βιοσήματος, μπορούν έτσι να χρησιμοποιηθούν για την ενημέρωση του χρήστη για διάφορες περιπτώσεις χρήσης που βασίζονται σε βιοσήμα, όπως η παρακολούθηση ύπνου ή άλλες ανωμαλίες, όπως οι επιληπτικές κρίσεις», που είναι γενικά τα ίδια παραδείγματα από τη νέα μελέτη.
Αλλά για να είμαστε σαφείς: η νέα μελέτη δεν αναφέρει AirPods και δεν έχει καμία σύνδεση με την αίτηση για δίπλωμα ευρεσιτεχνίας του 2023. Είναι μια έρευνα για το εάν ένα μοντέλο μπορεί να εκπαιδεύσει τον εαυτό του ώστε να μάθει να προβλέπει χρονικά διαστήματα μεταξύ των εγκεφαλικών κυμάτων από μη επισημασμένα δεδομένα, χρησιμοποιώντας μετρήσεις ear-EEG ως μέρος του συνόλου δεδομένων του.
Ωστόσο, είναι ενδιαφέρον να δούμε την Apple να ερευνά το υλικό για τη συλλογή αυτών των δεδομένων, καθώς και ένα μοντέλο τεχνητής νοημοσύνης που θα βελτίωνε τι συμβαίνει με αυτά τα δεδομένα μετά τη συλλογή τους. Το αν αυτό θα μετατραπεί πραγματικά σε προϊόν ή χαρακτηριστικό μένει να φανεί.
Μεγάλες προσφορές Black Friday 2025
Via: 9to5mac.com



